连接方式有法兰连接、螺纹连接、对焊连接3种。 自密封阀门出现后,截止阀的介质流向从阀瓣上方变为进入阀腔。 此时,在介质压力下,关闭阀门的力小,而开启阀门的力大,阀杆直径可相应减小。 同时,在介质的作用下,这种形式的阀门也比较紧密。 我国阀门“三化”曾规定截止阀的流向应为自上而下。 截止阀开启时,阀瓣的开启高度为公称通径的25%~30%。 当流量达到最大时,表明阀门已达到全开位置。 因此截止阀的全开位置应由阀瓣的行程来确定。
截止阀(Globe Valve)的启闭件是一个塞形阀瓣,密封面为平面或锥面。 阀瓣沿阀座中心线作直线运动。 阀杆的运动形式俗称暗杆,还可用于控制空气、水、蒸汽、各种腐蚀性介质、泥浆、油品、液态金属、放射性介质等各类流体的流动通过升降和旋转杆式。 因此,此类截止阀非常适合作切断、调节、节流用途。 由于阀杆的开启或关闭行程相对较短和高度可靠的截止功能,以及阀座开度的变化与阀瓣行程之间的比例关系,该类阀门非常适合使用。适用于调节流量。

尺寸 NPS 2 至 NPS 24
150级至2500级
RF、RTJ 或 BW
外部螺钉和轭架 (OS&Y)、明杆
螺栓阀盖或压力密封阀盖
提供铸造件(A216 WCB、WC6、WC9、A350 LCB、A351 CF8、CF8M、CF3、CF3M、A995 4A、A995 5A、A995 6A)、合金 20、蒙乃尔合金、铬镍铁合金、哈氏合金

根据 BS 1873、API 623 设计和制造
面对面根据 ASME B16.10
端接符合 ASME B16.5 (RF & RTJ)、ASME B16.25 (BW)
根据 API 598 进行测试和检验

铸钢截止阀的工作原理是旋转阀门,使阀门畅通或堵塞。 闸阀重量轻,体积小,可制成大口径。 密封可靠、结构简单、维修方便。 密封面和球面常处于封闭状态,不易被介质侵蚀。 它们广泛应用于各个行业。
截止阀的密封副由阀瓣密封面和阀座密封面组成。 阀杆带动阀瓣沿阀座中心线垂直移动。 截止阀在启闭过程中,开启高度较小,易于调节流量,且制造和维护方便,压力适用范围广。
截止阀的密封面不易磨损、划伤,在阀门启闭过程中阀瓣与阀座密封面之间不存在相对滑动。 因此,密封面的磨损和划伤都比较小,提高了密封副的使用寿命。 截止阀的阀瓣行程较小,全关闭过程中的高度也较小。 截止阀的缺点是启闭力矩较大,难以实现快速启闭。 由于阀体内流道曲折,流体流动阻力较大,导致管路中流体动力损失显着。
结构特点:
1.开启和关闭无摩擦。 该功能彻底解决了传统阀门因密封面间摩擦而影响密封的问题。
2、顶装式结构。 安装在管道上的阀门可直接在线检查和维修,可有效减少设备停机时间,降低成本。
3.单座设计。 消除了阀门腔体介质压力异常升高,影响使用安全的问题。
4.低扭矩设计。 特殊结构设计的阀杆,只需一个小手柄阀即可轻松启闭。
5、楔形密封结构。 阀门依靠阀杆提供的机械力将球楔压在阀座上并密封,保证阀门的密封性能不受管道压差变化的影响,在各种工况下保证可靠的密封性能状况。
6、密封面自洁结构。 当球体倾斜远离阀座时,管道中的流体沿球体密封面呈360°角均匀通过,不仅消除了高速流体对阀座的局部冲刷,而且还可以冲走阀座。堆积在密封面上,达到自清洁的目的。
7、DN50以下的阀体、阀盖为锻件,DN65以上的阀体、阀盖为铸钢件。
8、阀体与阀盖之间的连接形式不同,有卡箍销轴连接、法兰垫片连接、自密封螺纹连接等。
9、阀座、阀瓣密封面均采用等离子喷焊或堆焊钴铬钨硬质合金。 密封面硬度高、耐磨、耐擦伤、使用寿命长。
10、阀杆材质为氮化钢,氮化阀杆表面硬度高,耐磨、耐划伤、耐腐蚀,使用寿命长。


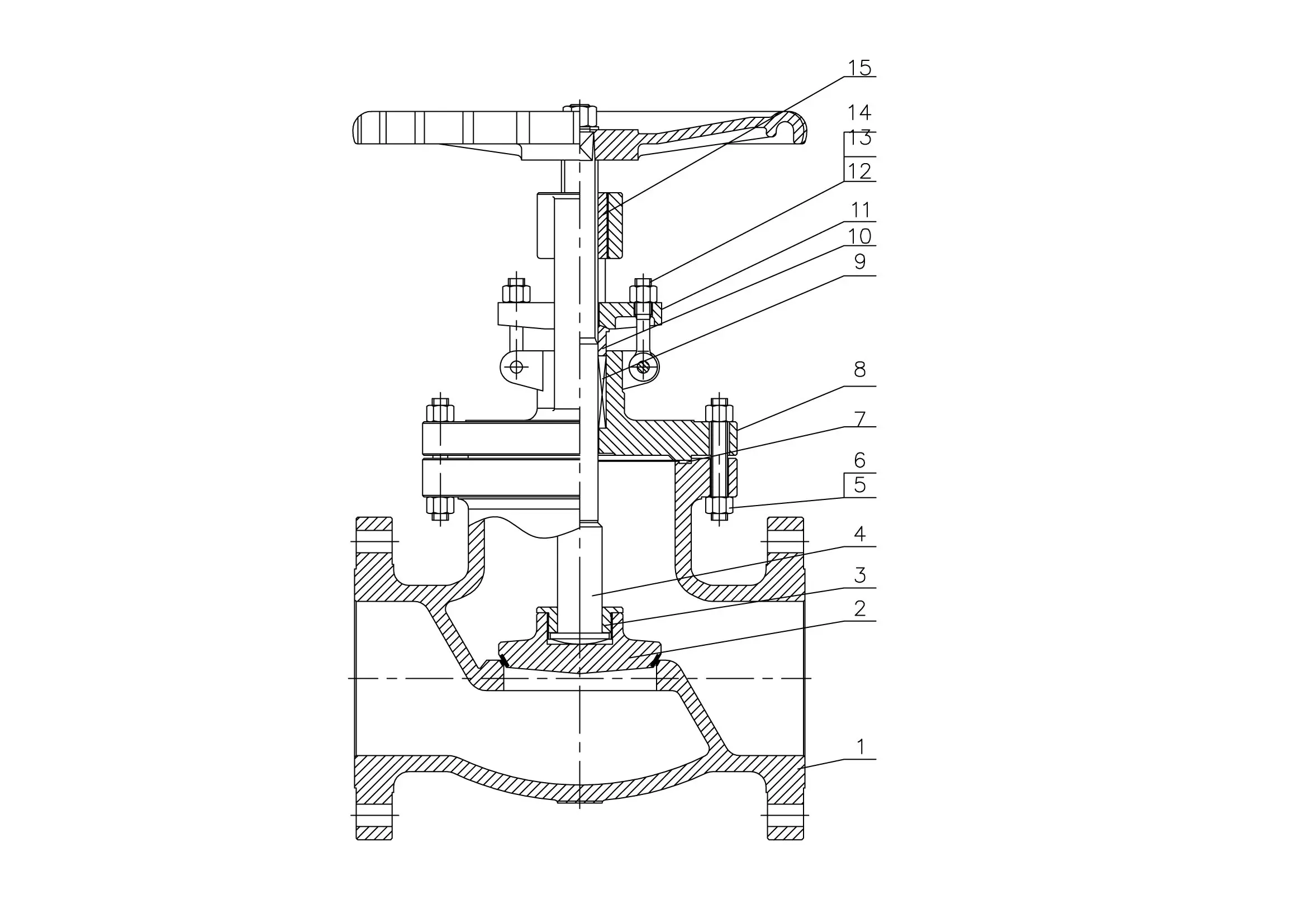
| 不。 | 零件名称 | 材料 |
| 1 | 身体 | B367 Gr.C-2 |
| 2 | 光盘 | B381 Gr.F-2 |
| 3 | 光盘盖 | B381 Gr.F-2 |
| 4 | 干 | B381 Gr.F-2 |
| 5 | 坚果 | A194 8M |
| 6 | 螺栓 | A193 B8M |
| 7 | 垫片 | 钛+石墨 |
| 8 | 帽子 | B367 Gr.C-2 |
| 9 | 包装 | 聚四氟乙烯/石墨 |
| 10 | 压盖衬套 | B348 12 组 |
| 11 | 压盖法兰 | A351 CF8M |
| 12 | 别针 | A276 316 |
| 13 | 有眼螺栓 | A193 B8M |
| 14 | 压盖螺母 | A194 8M |
| 15 | 阀杆螺母 | 铜合金 |

钛截止阀在大气、淡水、海水、高温蒸汽中几乎不腐蚀,在碱性介质中具有很强的耐腐蚀性。 钛截止阀具有较强的抗氯离子能力,具有优良的抗氯离子腐蚀能力。 钛截止阀在次氯酸钠、氯水、湿氧等介质中具有良好的耐腐蚀性。 钛截止阀在有机酸中的耐腐蚀性取决于酸的还原性或氧化性。 钛截止阀在还原酸中的耐腐蚀性取决于介质中是否存在缓蚀剂。 钛截止阀重量轻,机械强度高,在航空航天领域得到广泛应用。 钛截止阀可以抵抗各种腐蚀性介质的侵蚀,可以解决民用耐腐蚀工业输送管道中不锈钢、铜或铝阀门难以解决的腐蚀问题。 具有安全可靠、使用寿命长等优点。 广泛应用于氯碱工业、纯碱工业、医药工业、化肥工业、精细化工、纺织纤维合成及染色工业、碱性有机酸及无机盐生产、硝酸工业等。
