锻钢闸阀是指闸板沿通道中心线垂直移动的阀门。 锻钢闸阀主要用于管道中作切断用。 锻钢闸阀是一种应用广泛的阀门,一般用于直径DN≤50的切割装置。锻钢闸阀相当常见。
双相不锈钢是其固态淬火组织中存在一半铁素体相和一半奥氏体相的不锈钢,最低相含量为30%。 双相不锈钢是在18-8奥氏体不锈钢的基础上增加Cr含量或添加其他铁素体元素而形成的。 不仅具有奥氏体和铁素体的双向组织,而且节省了Ni合金。 由于双相不锈钢的两相组织的特点,通过正确控制化学成分和热处理工艺,双相不锈钢可以结合铁素体不锈钢和奥氏体不锈钢的优点。 双相不锈钢中奥氏体的存在降低了Cr铁素体的脆性和晶体生长的倾向,同时保持优异的韧性和焊接性能; 铁素体的存在提高了奥氏体的屈服强度、抗晶间腐蚀能力和抗氯化物应力腐蚀能力。

直径:1/2" 至 2"(从 DN15mm 至 DN50mm)
压力:150LB-2500LB(PN16-PN420)
连接方式:法兰端、螺纹端、焊接端。
驱动方式:手动、气动、电动等。
适用温度:-40℃~550℃℃

设计规范:JB/T 7746、API602
结构长度:JB/T 7746,出厂规格
承插/螺纹:JB/T1751/GB7306、ANSI B16.11/B2.1
试验检验:JB/T 9092、API598

与奥氏体不锈钢相比,双相不锈钢的优点如下:
首先,屈服强度是普通奥氏体不锈钢的两倍以上,并且具有成形所需的足够的塑性和韧性。 采用双相不锈钢制造的储存或压力容器壁厚比普通奥氏体减少30-50%,有利于降低成本。
其次,它具有优异的抗应力腐蚀开裂性能,即使是合金含量最低的双相不锈钢也比奥氏体不锈钢具有更高的抗应力腐蚀开裂性能,特别是在含有氯离子的环境中。 应力腐蚀是普通奥氏体不锈钢难以解决的突出问题。
第三,在许多介质中最常用的2205双相不锈钢的耐腐蚀性能优于普通316L奥氏体不锈钢。 超级双相不锈钢具有极高的耐腐蚀性能,在某些介质中甚至可以替代高合金奥氏体不锈钢甚至耐腐蚀合金。
第四,具有良好的抗局部腐蚀能力。 与含金量相近的奥氏体不锈钢相比,双相不锈钢比奥氏体不锈钢具有更好的耐磨性和耐疲劳腐蚀性能。
第五,线膨胀系数比奥氏体不锈钢低,与碳钢相似,适合与碳钢连接,具有重要的工程意义,如生产复合板或衬里。
第六,无论在动载还是静载条件下,双相不锈钢都比奥氏体不锈钢具有更高的能量吸收能力,这对于结构构件应对碰撞、爆炸等突发事故具有实际应用价值。


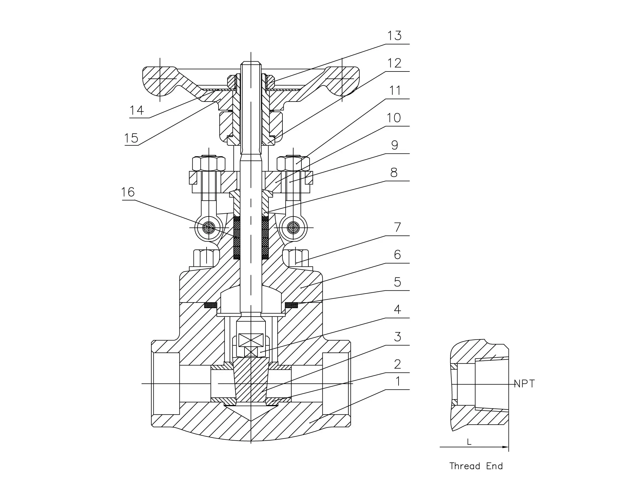
| 不。 | 零件名称 | 材料 |
| 1 | 身体 | A182 F60 |
| 2 | 座环 | A182 F60 |
| 3 | 楔 | A182 F60 |
| 4 | 干 | A182 F60 |
| 5 | 垫片 | S32205+石墨 |
| 6 | 帽子 | A182 F60 |
| 7 | 六角螺栓 | A193 B8M |
| 8 | 腺 | A182 F60 |
| 9 | 压盖吊环螺栓 | A193 B8M |
| 10 | 压盖法兰 | A182 F60 |
| 11 | 压盖螺母 | A194 8M |
| 12 | 轭螺母 | A194 8M |
| 13 | 硬质合金螺母 | CS |
| 14 | 铭牌 | SS |
| 15 | 方向盘 | A197 |
| 16 | 包装 | 石墨 |

F60双相钢具有广泛的应用领域:
1、F60双相钢在中性氯化物环境中具有良好的耐腐蚀性能,适用于海水处理设备、海上平台等领域。
2、F60双相钢可承受高温、高压、腐蚀介质,适用于炼油设备、化工设备、化学反应釜等。
3、F60双相钢在油气开采和运输过程中具有优良的耐蚀性和抗应力腐蚀开裂性能,适用于油气管道、储罐等。
4、F60双相钢在制浆造纸生产中能耐腐蚀、耐磨损,适用于制浆设备、纸浆输送管道等。
5、F60双相钢可承受化肥、尿素生产过程中的强酸、强碱环境,适用于化肥设备、尿素装置等。
6、F60双相钢在海洋环境中具有良好的耐腐蚀性能,适用于海水处理设备、海洋平台、船舶等。
7、F60双相钢可耐高温、高压、耐腐蚀介质,适用于能源设备、环保设备等。
8、F60双相钢具有优异的卫生性和耐腐蚀性,适用于食品设备、制药设备等。
9、F60双相钢还可用于高强度结构件、海底管道、烟气脱硫、渗透海水淡化设备、硫酸厂等领域。
综上所述,F60(2205、S32205)双相钢在多个工业领域具有广阔的应用前景,其优异的耐腐蚀性和力学性能使其成为理想的材料选择。
